广告

瞄定中国市场,迈来芯产业链加速向本土转移

从传统燃油车转变到新能源汽车时代,单车芯片“量价”飞升,这一转变无疑让半导体企业为之兴奋。然而汽车电子市场需求变化莫测,如何对赛道保持前瞻性,抢占市场先机是芯片厂商需时刻紧绷的“一...
车型竞争力分析:纯电市场份额排名第三,比亚迪元PLUS稳定增长 | 卖到哪系列

车型竞争力分析:纯电市场份额排名第三,比亚迪元PLUS稳定增长 | 卖到哪系列

随着新能源汽车市场的蓬勃发展,元 PLUS 作为一款备受瞩目的车型,其销售表现一直备受关注。根据由盖世汽车研究院整理的供应链数据库揭示,2024年5月,元 PLUS 的终端销量达到...
伯克利实验室开发创新电池组件 可在电动飞机飞行期间保持强劲动力

伯克利实验室开发创新电池组件 可在电动飞机飞行期间保持强劲动力

盖世汽车讯 据外媒报道,一项研究显示,电池组件创新可以帮助电动飞机在低电量降落时保持高功率输出。该研究由劳伦斯伯克利国家实验室(Lawrence Berkeley National...
Waymo通过人工智能优化自动驾驶功能

Waymo通过人工智能优化自动驾驶功能

盖世汽车讯 据外媒报道,在Waymo长达15年的自动驾驶努力中,人工智能(AI)创新推动该公司取得了一些实质性进展,使自动驾驶汽车成为了现实。 Waymo驾驶行为负责人Jack W...

腾势汽车登陆柬埔寨,D9开启首批车主交付

7月18日,从腾势汽车官方处获悉,其柬埔寨首家门店 DENZA HARMONY CITYMALL SHOWROOM 于近日在金边中央商务区开业,并迎来腾势D9首批车主交付。 据悉,...

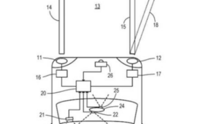
福特申请新专利 利用驾驶员的目光来控制前照灯

盖世汽车讯 据外媒报道,福特汽车公司(Ford Motor)申请了一项自适应转向汽车前照灯专利。该前照灯依赖于驾驶员的目光和头部方向来进行操作,可能用于未来的福特汽车。该专利于20...

聚焦CMF话题 宝马在中国举办第四届可持续发展峰会

“如果大家体验过激烈驾驶甚至赛车,您会理解赛车手的目光看向哪里,车就会去哪里,真正的赛车手始终放眼远方的目标点,驶出完美的过弯线。”7月18日,宝马集团大中华区总裁兼首席执行官高翔...
中国人保携手嘉兴东晨汽车线上团购会

中国人保携手嘉兴东晨汽车线上团购会

由中国人保和嘉兴东晨汽车联合主办的汽车线上团购会将于2024年7月25日上午8:00至下午5:00在浙江省嘉兴市经济技术开发区永高路29号内一幢第1层4号正式举办,此次线上团购会将...
中国人保携手浙江国旺汽车购车嘉年华

中国人保携手浙江国旺汽车购车嘉年华

绿荫遍野,风暖昼长,给万物以繁盛,予生活以热情。在夏日的序言里,由中国人保为你带来惊喜。中国人保携手浙江国旺汽车将于2024年7月25日-26日上午8:00至下午5:00在杭州市滨...
中国人保携手温州市煊屹汽车客户答谢会

中国人保携手温州市煊屹汽车客户答谢会

中国人保携手温州市煊屹汽车为回馈广大用户长期的支持与信任,将于2024年7月20—21日上午8:00至下午5:00在温州市鹿城区温州大道1922号举行客户答谢会,本次答谢会将以回馈...
正在加载中...

已加载全部内容

已经没有更多文章了

联系我们

联系我们

18108003017

在线咨询: QQ交谈

邮箱: aizhany@sina.com

工作时间:周一至周五,9:00-17:30,节假日休息

关注微信
微信扫一扫关注我们

微信扫一扫关注我们

关注微博
返回顶部